Heat Exchange
A heat exchanger is a device that facilitates the process of heat exchange between two fluids that are at different temperatures. A heat exchanger is a system used to transfer heat between a source and a working fluid. Heat exchangers are used in both cooling and heating processes. The fluids may be separated by a solid wall to prevent mixing or they may be in direct contact. They are widely used in space heating, refrigeration, air conditioning, power stations, chemical plants, petrochemical plants, petroleum refineries, natural-gas processing, and sewage treatment. The classic example of a heat exchanger is found in an internal combustion engine in which a circulating fluid known as engine coolant flows through radiator coils and air flows past the coils, which cools the coolant and heats the incoming air. Another example is the heat sink, which is a passive heat exchanger that transfers the heat generated by an electronic or a mechanical device to a fluid medium, often air or a liquid coolant.
Selcetion
Due to the many variables involved, selecting optimal heat exchangers is challenging. Hand calculations are possible, but many iterations are typically needed. As such, heat exchangers are most often selected via computer programs, either by system designers, who are typically engineers, or by equipment vendors.To select an appropriate heat exchanger, the system designers (or equipment vendors) would firstly consider the design limitations for each heat exchanger type. Though cost is often the primary criterion, several other selection criteria are important:
• High/low pressure limits
• Thermal performance
• Temperature ranges
• Product mix (liquid/liquid, particulates or high-solids liquid)
• Pressure drops across the exchanger
• Fluid flow capacity
• Cleanability, maintenance and repair
• Materials required for construction
• Ability and ease of future expansion
• Material selection, such as copper, aluminium, carbon steel, stainless steel, nickel alloys, ceramic, polymer, and titanium.
Small-diameter coil technologies are becoming more popular in modern air conditioning and refrigeration systems because they have better rates of heat transfer than conventional sized condenser and evaporator coils with round copper tubes and aluminum or copper fin that have been the standard in the HVAC industry. Small diameter coils can withstand the higher pressures required by the new generation of environmentally friendlier refrigerants. Two small diameter coil technologies are currently available for air conditioning and refrigeration products: copper microgroove[26] and brazed aluminum micro channel Choosing the right heat exchanger (HX) requires some knowledge of the different heat exchanger types, as well as the environment where the unit must operate. Typically in the manufacturing industry, several differing types of heat exchangers are used for just one process or system to derive the final product. For example, a kettle HX for pre-heating, a double pipe HX for the ‘carrier’ fluid and a plate and frame HX for final cooling. With sufficient knowledge of heat exchanger types and operating requirements, an appropriate selection can be made to optimize the process.
• Finned Tube Heat Exchanger Or Air Cooled Heat Exchanger. Suitable for: air/gas to fluid. ...
• Shell And Tube Heat Exchanger. Suitable for: fluid to fluid / fluid to gas. ...
• Plate Heat Exchanger Or Gasket Plate Heat Exchanger. Suitable for: fluid to fluid / fluid to vapor.
The three most common types of shell-and-tube exchangers are:
(1) fixed tube sheet design,
(2) U-tube design, and
(3) floating-head type.
DESIGN CODES FOR THE SHELL AND TUBE TYPE HEAT EXCHANGERS WE ARE APPLYING & WE HAVE EXPERTISE IN THAT PROCESS.
✓ ASME codes for heat exchangers
✓ includes rules and recommendations for:
✓ Materials (ASME II-A, B, C, D)
✓ Design (ASME VIII Div I & Div II)
✓ Testing & Inspection (ASME V)
✓ Welding (ASME IX)
✓ European Standards
✓ PD 5500
✓ EN 13445 Standards
✓ Pressure Equipment Directive
✓ CE vs UKCA marking
✓ TEMA Standards
✓ API
SHELL AND TUBE HEAT EXCHANGERS
Shell and Tube Heat Exchangers are one of the most popular types of exchanger due to the flexibility the designer has to allow for a wide range of pressures and temperatures. There are two main categories of Shell and Tube exchanger:
- Those that are used in the petrochemical industry which tend to be covered by standards from TEMA, Tubular Exchanger Manufacturers Association (see TEMA Standards);
- Those that are used in the power industry such as feed water heaters and power plant condensers
Regardless of the type of industry the exchanger is to be used in there are a number of common features (see Condensers).
A shell and tube exchanger consists of a number of tubes mounted inside a cylindrical shell. Figure 1 illustrates a typical unit that may be found in a petrochemical plant. Two fluids can exchange heat, one fluid flows over the outside of the tubes while the second fluid flows through the tubes. The fluids can be single or two phase and can flow in a parallel or a cross/counter flow arrangement.

The shell and tube exchanger consists of four major parts:
• Front Header—this is where the fluid enters the tubeside of the exchanger. It is sometimes referred to as the Stationary Header.
• Rear Header—this is where the tubeside fluid leaves the exchanger or where it is returned to the front header in exchangers with multiple tubeside passes.
• Tube bundle—this comprises of the tubes, tube sheets, baffles and tie rods etc. to hold the bundle together.
• Shell—this contains the tube bundle.
The remainder of this section concentrates on exchangers that are covered by the TEMA Standard.
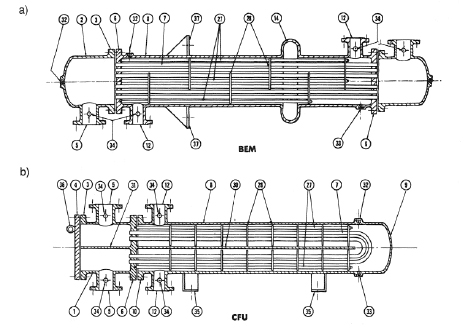
Shell and Tube Exchanger: Geometric Terminology
The main components of a shell and tube exchanger are shown in Figure 2 a, b and c and described in Table 1.


| 1 | Stationary (Front) Head—Channel | 20 | Slip-on Backing Flange |
|---|---|---|---|
| 2 | Stationary (Front) Head—Bonnet | 21 | Floating Tubesheet Skirt |
| 3 | Stationary (Front) Head Flange | 22 | Floating Tubesheet Skirt |
| 4 | Channel Cover | 23 | Packing Box Flange |
| 5 | Stationary Head Nozzle | 24 | Packing |
| 6 | Stationary Tubesheet | 25 | Packing Follower Ring |
| 7 | Tubes | 26 | Lantern Ring |
| 8 | Shell | 27 | Tie Rods and Spacers |
| 9 | Shell Cover | 28 | Transverse Baffles or Support Plates |
| 10 | Shell Flange—Stationary Head End | 29 | Impingement Baffle or Plate |
| 11 | Shell Flange—Rear Head End | 30 | Longitudinal Baffle |
| 12 | Shell Nozzle | 31 | Pass Partition |
| 13 | Shell Cover Flange | 32 | Vent Connection |
| 14 | Expansion Joint | 33 | Drain Connection |
| 15 | Floating Tubesheet | 34 | Instrument Connection |
| 16 | Floating Head Cover | 35 | Support Saddle |
| 17 | Floating Head Flange | 36 | Lifting Lug |
| 18 | Floating Head Backing Device | 37 | Support Bracket |
| 19 | Split Shear Ring |
TEMA Designation
The popularity of shell and tube exchangers has resulted in a standard nomenclature being developed for their designation and use by the Tubular Exchanger Manufactures Association (TEMA). This nomenclature is defined in terms letters and diagrams. The first letter describes the front header type, the second letter the shell type and the third letter the rear header type. Figure 2 shows examples of a BEM, CFU, and AES exchangers while Figure 3 illustrates the full TEMA nomenclature.


Figure 3. TEMA nomenclature. © 1988 by Tubulare Exchanger Manufacturers Association. Many combinations of front header, shell and rear header can be made. The most common combinations for an E-Type Shell are given in Table 2 but other combinations are also used.
Fixed Tube sheet Exchanger (L, M, and N Type Rear Headers) In a fixed tube sheet exchanger, the tube sheet is welded to the shell. This results in a simple and economical construction and the tube bores can be cleaned mechanically or chemically. However, the outside surfaces of the tubes are inaccessible except to chemical cleaning. If large temperature differences exist between the shell and tube materials, it may be necessary to incorporate an expansion bellows in the shell, to eliminate excessive stresses caused by expansion. Such bellows are often a source of weakness and failure in operation. In circumstances where the consequences of failure are particularly grave U-Tube or Floating Header units are normally used. This is the cheapest of all removable bundle designs, but is generally slightly more expensive than a fixed tube sheet design at low pressures.
U-Tube Exchangers
In a U-Tube exchanger any of the front header types may be used and the rear header is normally a M-Type. The U-tubes permit unlimited thermal expansion, the tube bundle can be removed for cleaning and small bundle to shell clearances can be achieved. However, since internal cleaning of the tubes by mechanical means is difficult, it is normal only to use this type where the tube side fluids are clean.
Floating Head Exchanger
(P, S, T and W Type Rear Headers) In this type of exchanger the tubesheet at the Rear Header end is not welded to the shell but allowed to move or float. The tubesheet at the Front Header (tube side fluid inlet end) is of a larger diameter than the shell and is sealed in a similar manner to that used in the fixed tubesheet design. The tubesheet at the rear header end of the shell is of slightly smaller diameter than the shell, allowing the bundle to be pulled through the shell. The use of a floating head means that thermal expansion can be allowed for and the tube bundle can be removed for cleaning. There are several rear header types that can be used but the S-Type Rear Head is the most popular. A floating head exchanger is suitable for the rigorous duties associated with high temperatures and pressures but is more expensive (typically of order of 25% for carbon steel construction) than the equivalent fixed tubesheet exchanger. Considering each header and shell type in turn:
Geometric Options Tube diameter layout and pitch Tubes may range in diameter from 12.7 mm (0.5 in) to 50.8 mm (2 in), but 19.05 mm (0.75 in) and 25.4 mm (1 in) are the most common sizes. The tubes are laid out in triangular or square patterns in the tube sheets. See Figure 4.


The square layouts are required where it is necessary to get at the tube surface for mechanical cleaning. The triangular arrangement allows more tubes in a given space. The tube pitch is the shortest center-to-center distance between tubes. The tube spacing is given by the tube pitch/tube diameter ratio, which is normally 1.25 or 1.33. Since a square layout is used for cleaning purposes, a minimum gap of 6.35 mm (0.25 in) is allowed between tubes.
Heat Transfer Enhancements Devices There are three main types. Special surfaces These tend to be used to promote nucleate boiling when the temperature driving force is small. Tube inserts These are normally wire wound inserts or twisted tapes. They are normally used with medium to high viscosity fluids to improve heat transfer by increasing turbulence. There is also some evidence that they reduce fouling. In order to use these most effectively the exchanger should be designed for their use. This usually entails increasing the shell diameter, reducing the tube length and the number of tube side passes in order to allow for the increased pressure loss characteristics of the devices. Extended surfaces These are used to increase the heat transfer area when a stream has a low heat transfer coefficient. The most common type is "low fin tubing" where typically the fins are 1.5 mm high at 19 fins per inch. (See also Augmentation of Heat Transfer.)
Shell selection
E-type shells are the most common. If a single tube pass is used and provided there are more than three baffles, then near counter-current flow is achieved. If two or more tube passes are used, then it is not possible to obtain pure countercurrent flow and the log mean temperature difference must be corrected to allow for combined co current and countercurrent flow using an F-factor.
G-type shells and H shells are normally specified only for horizontal thermosyphon reboilers. J shells and X-type shells should be selected if the allowable DP cannot be accommodated in a reasonable E-type design. For services requiring multiple shells with removable bundles, F-type shells can offer significant savings and should always be considered provided they are not prohibited by customer specifications
Front header selection
The A-type front header is the standard for dirty tube side fluids and the B-type is the standard for clean tube side fluids. The A-type is also preferred by many operators regardless of the cleanliness of the tube side fluid in case access to the tubes is required. Do not use other types unless the following considerations apply.
A C-type head with removable shell should be considered for hazardous tube side fluids, heavy bundles or services requiring frequent shell side cleaning. The N-type head is used when hazardous fluids are on the tube side. A D-type head or a B-type head welded to the tube sheet is used for high pressure applications. Y-type heads are only normally used for single tube-pass exchangers when they are installed in line with a pipeline.
Rear header selection
For normal service a Fixed Header (L, M, N-types) can be used provided that there is no overstressing due to differential expansion and the shell side will not require mechanical cleaning. If thermal expansion is likely a fixed header with a bellows can be used provided that the shell side fluid is not hazardous, the shell side pressure does not exceed 35 bar (500 psia) and the shell side will not require mechanical cleaning.
A U-tube unit can be used to overcome thermal expansion problems and allow the bundle to be removed for cleaning. However, countercurrent flow can only be achieved by using an F-type shell and mechanical cleaning of the tube side can be difficult.
An S-type floating head should be used when thermal expansion needs to be allowed for and access to both sides of the exchanger is required from cleaning. Other rear head types would not normally be considered except for the special cases.
Thermal Design
The thermal design of a shell and tube exchanger is an iterative process which is normally carried out using computer programs from organizations such as the Heat transfer and Fluid Flow Service (HTFS) or Heat Transfer Research Incorporated (HTRI). However, it is important that the engineer understands the logic behind the calculation. In order to calculate the heat transfer coefficients and pressure drops, initial decisions must be made on the sides the fluids are allocated, the front and rear header type, shell type, baffle type, tube diameter and tube layout. The tube length, shell diameter, baffle pitch and number of tube passes are also selected and these are normally the main items that are altered during each iteration in order to maximize the overall heat transfer within specified allowable pressure drops.
The main steps in the calculation are given below together with calculation methods in the open literature:
1. Calculate the shell side flow distribution [Use Bell-Delaware Method, see Hewitt, Shires, and Bott (1994)].
2. Calculate the shell side heat transfer coefficient (Use Bell- Delaware Method)
3. Calculate tube side heat transfer coefficient (see, for example, Tubes: Single Phase Heat Transfer In).
4. Calculate tube side pressure drop (see, for example, Pressure Drop, Single Phase).
5. Calculate wall resistance and overall heat transfer coefficient (see Overall Heat Transfer Coefficient and Fouling).
6. Calculate mean temperature difference (see Mean Temperature Difference).
7. Calculate area required.
8. Compare area required with area of assumed geometry and allowed tube side and shell side pressure drop with calculated values.
9. Adjust assumed geometry and repeat calculations until Area required is achieved within the allowable pressure drops.
Mechanical Design
The mechanical design of a shell and tube heat exchanger provides information on items such as shell thickness, flange thickness, etc. These are calculated using a pressure vessel design code such as the Boiler and Pressure Vessel code from ASME (American Society of Mechanical Engineers) and the British Master Pressure Vessel Standard, BS 5500. ASME is the most commonly used code for heat exchangers and is in 11 sections. Section VIII (Confined Pressure Vessels) of the code is the most applicable to heat exchangers but Sections II—Materials and Section V—Non Destructive Testing are also relevant.
Both ASME and BS5500 are widely used and accepted throughout the world but some countries insist that their own national codes are used. In order to try and simplify this the International Standards Organization is now attempting to develop a new internationally recognized code but it is likely to be a some time before this is accepted




